
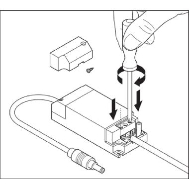
Downlight con struttura in alluminio. Caratteristiche del prodotto: Diametro del foro d'incasso richiesto: 150 mm o 200 mm (dipende dalla versione). Tipo di protezione: IP44. Vantaggi del prodotto: Elevata efficienza luminosa. Risparmio di energia fino al 60% rispetto agli apparecchi con lampade CFL. Luce estremamente uniforme. Design funzionale. Installazione facile grazie al collegamento veloce. Driver esterno per una maggiore flessibilità (compatibile con i driver DALI selezionati). 5 anni di garanzia. Aree di applicazione: Sostituzione diretta per gli apparecchi funzionanti con lampade fluorescenti compatte. Illuminazione generale. Aree pubbliche. Scale. Corridoi. Hall. Negozi. Consigli per la sicurezza: Tutti i collegamenti elettrici devono essere effettuati da personale qualificato.. Attenzione, rischio di scosse elettriche.. Gli apparecchi di illuminazione non sono adatti alla copertura con materiale termicamente isolato..
Indirizzo:
Sito del produttore:
Fare il tuo reso è facile!
I resi possono essere richiesti entro 14 giorni dalla data di acquisto ed è obbligatorio allegare una ricevuta valida alla merce in restituzione.
Il diritto di recesso è comunque sottoposto alle seguenti condizioni:
Quanto sopra è valido per il reso di merce acquistata e non più desiderata. In caso di prodotti che risultino avere difetti di fabbricazione, ricordiamo che comunque il materiale acquistato tramite SpesaElettrica gode delle normali garanzie e, in questi casi vi chiediamo di non esitare a chiamare il nostro servizio clienti.
Downlight con struttura in alluminio. Caratteristiche del prodotto: Diametro del foro d'incasso richiesto: 150 mm o 200 mm (dipende dalla versione). Tipo di protezione: IP44. Vantaggi del prodotto: Elevata efficienza luminosa. Risparmio di energia fino al 60% rispetto agli apparecchi con lampade CFL. Luce estremamente uniforme. Design funzionale. Installazione facile grazie al collegamento veloce. Driver esterno per una maggiore flessibilità (compatibile con i driver DALI selezionati). 5 anni di garanzia. Aree di applicazione: Sostituzione diretta per gli apparecchi funzionanti con lampade fluorescenti compatte. Illuminazione generale. Aree pubbliche. Scale. Corridoi. Hall. Negozi. Consigli per la sicurezza: Tutti i collegamenti elettrici devono essere effettuati da personale qualificato.. Attenzione, rischio di scosse elettriche.. Gli apparecchi di illuminazione non sono adatti alla copertura con materiale termicamente isolato..